Pyyhkijän pissapojan moottori kuali KIIRE
-
ZaappiFantti
- "Turbo"
- Viestit: 206
- Liittynyt: Ti Syys 26, 2006 14:24
- Paikkakunta: Hellsinki
Pyyhkijän pissapojan moottori kuali KIIRE
Moro,
Pikkasen kiirus. Eli pissapojan moottori on dead. E surise pelkällä sähkölläkään. Siis kun auto ei olle käynnissä, mutta virrat on päällä. Kokeilin Motonetin moottorilla, ei toimi. Motoneitin moottori on puolet pienempi. Auto on 1991 CC. Orkkismoottorissa on vettä(?) sisällä. Kuuluuko siellä olla. Katonko oikeaa osaa? Missä moottori luuraa? Onko relettä pelkälle moottorille? Tai sulaketta? Missä ovat he?
niin monta kysymystä ja vähän aikaa...
ZF
Pikkasen kiirus. Eli pissapojan moottori on dead. E surise pelkällä sähkölläkään. Siis kun auto ei olle käynnissä, mutta virrat on päällä. Kokeilin Motonetin moottorilla, ei toimi. Motoneitin moottori on puolet pienempi. Auto on 1991 CC. Orkkismoottorissa on vettä(?) sisällä. Kuuluuko siellä olla. Katonko oikeaa osaa? Missä moottori luuraa? Onko relettä pelkälle moottorille? Tai sulaketta? Missä ovat he?
niin monta kysymystä ja vähän aikaa...
ZF
Saab 9000 1995 turbo & Saab 9000 CC 1991
Re: Pyyhkijän pissapojan moottori kuali KIIRE
Pissapojan pumppu on pesunestesäiliön kyljessä.
Ovatko ajovalopyyhkijämoottorit kytkettynä? Toimivatko ne? Jumittava ajovalopyyhkijämoottori voi haukata kaiken virran pissapojalta. Kokeile irrottaa johtoliittimet pyyhkijämoottoreilta.
Ei ole pissapojalle relettä. Viiksi antaa jännitteen pissapojalle ja samasta haaroitetaan heräte ajovalopyyhinmoottoreille.
Ovatko ajovalopyyhkijämoottorit kytkettynä? Toimivatko ne? Jumittava ajovalopyyhkijämoottori voi haukata kaiken virran pissapojalta. Kokeile irrottaa johtoliittimet pyyhkijämoottoreilta.
Ei ole pissapojalle relettä. Viiksi antaa jännitteen pissapojalle ja samasta haaroitetaan heräte ajovalopyyhinmoottoreille.
Saab 99 GLi 5 Speed -82 • Saab 9000 T16A -87 • Saab 9000 CD 2,3T A -91 • Saab 9-5 2,3t A -00
-
ZaappiFantti
- "Turbo"
- Viestit: 206
- Liittynyt: Ti Syys 26, 2006 14:24
- Paikkakunta: Hellsinki
Re: Pyyhkijän pissapojan moottori kuali KIIRE
Kiitos,
Kattelin sitten ihan eri pumppua
Tätä pähkäillään sitten tänään. Ei taida toimia lampunpyyhkimet. Napsastaa sähköt pois.
Kattelin sitten ihan eri pumppua
Tätä pähkäillään sitten tänään. Ei taida toimia lampunpyyhkimet. Napsastaa sähköt pois.
Saab 9000 1995 turbo & Saab 9000 CC 1991
-
ZaappiFantti
- "Turbo"
- Viestit: 206
- Liittynyt: Ti Syys 26, 2006 14:24
- Paikkakunta: Hellsinki
Re: Pyyhkijän pissapojan moottori kuali KIIRE
Mutta en mä tiedä missä vitussa se koko pumppu on? Onko ser siellä lokarin sisällä? Mitä itää tehdä joitta sen saa irti? Yhtään en jaksas tätä säätää...
Haymes samoo, että akun takana??? siinä on se vesipumppu?? Washer pump sanoo Haynes??
Haymes samoo, että akun takana??? siinä on se vesipumppu?? Washer pump sanoo Haynes??
Saab 9000 1995 turbo & Saab 9000 CC 1991
Re: Pyyhkijän pissapojan moottori kuali KIIRE
Matalakeulaisissa pumppu on pesunestesäiliön kyljessä kiinni, eli apparin puolen etuloksun sisällä. Etupyörä pois ja sisälokasuoja etupuoli irti. Myös puskurin alamuovien irrottaminen antaa lisätilaa.
9000CDE 2.3tA 1995(Stage diskopottu), exät 9000TA 1989, 9000TA 1987, 900iA 1987. Käyttiksenä Opel Insignia 2.0t AWD 2011.
Saab-juttuja 70-luvulta
#2366
Saab-juttuja 70-luvulta
#2366
-
ZaappiFantti
- "Turbo"
- Viestit: 206
- Liittynyt: Ti Syys 26, 2006 14:24
- Paikkakunta: Hellsinki
Re: Pyyhkijän pissapojan moottori kuali KIIRE
Olkoot...
Ei jaksa tähän 400 euron jassoon. Näin talvella ja pihalla. Syljen vaikka tuulilasiin ja oottelen pakkasta
kiitos kuiteski
Ei jaksa tähän 400 euron jassoon. Näin talvella ja pihalla. Syljen vaikka tuulilasiin ja oottelen pakkasta
kiitos kuiteski
Saab 9000 1995 turbo & Saab 9000 CC 1991
-
tosiynnäri
- "Turbo"
- Viestit: 227
- Liittynyt: La Loka 16, 2010 23:25
Re: Pyyhkijän pissapojan moottori kuali KIIRE
SAAB 9000 CC 2.0TA my88
SAAB 900 CC 2.0i8 my85
N*ssan Terrano 2.7t my90
#5850
SAAB 900 CC 2.0i8 my85
N*ssan Terrano 2.7t my90
#5850
-
Firges9000
- "Saabisti"
- Viestit: 5804
- Liittynyt: To Syys 18, 2003 18:50
- Paikkakunta: Vantaa
Re: Pyyhkijän pissapojan moottori kuali KIIRE
oiskos tuo kopsattu Alfasta, TwinSpark ?
Jäsen 1124
Saab 9000 tbo/86, FIRGES-Tuning
Saab 9000 2,3 Fpt/94, steg3
Saab 9000 tbo/86, FIRGES-Tuning
Saab 9000 2,3 Fpt/94, steg3
Re: Pyyhkijän pissapojan moottori kuali KIIRE
Eihän saabissa kuitenkaan tuplatulppia ole, mutta onhan tuo kätevä, jos kasetti menee niin heittää perinteisen systeemin tulille.
#1598
Saab 9000 CS 2.0t -97, Alfa 166 jtd 20v. Aut. -05, Lancia Lybra 1.8 ls
Saab 9000 CS 2.0t -97, Alfa 166 jtd 20v. Aut. -05, Lancia Lybra 1.8 ls
Re: Pyyhkijän pissapojan moottori kuali KIIRE
Kuva näyttää tutulta: http://foorumi.saabclub.fi/viewtopic.ph ... 25#p693325
Saab 99 GLi 5 Speed -82 • Saab 9000 T16A -87 • Saab 9000 CD 2,3T A -91 • Saab 9-5 2,3t A -00
Re: Pyyhkijän pissapojan moottori kuali KIIRE
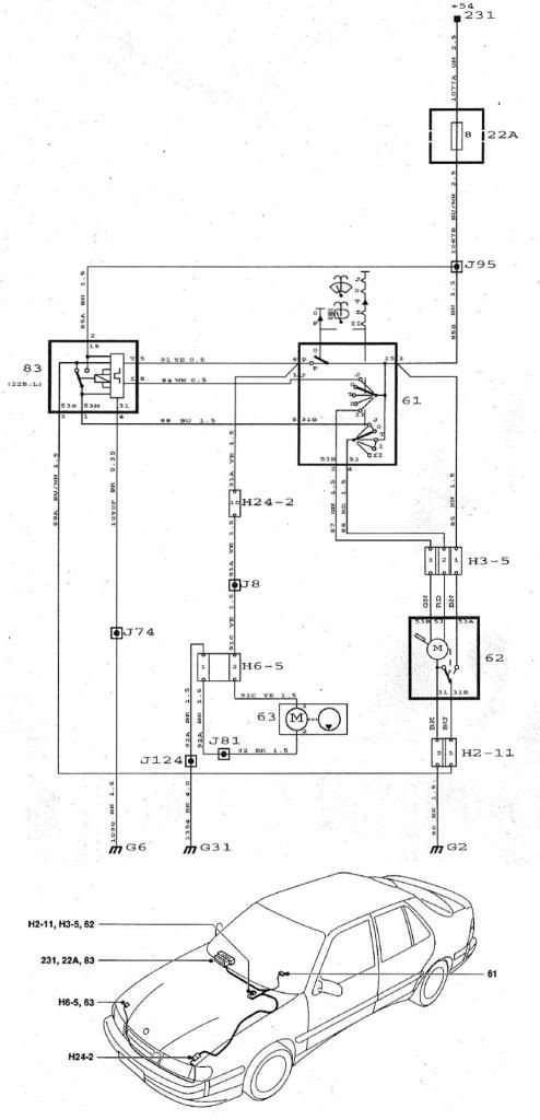
Missäköhän on sen pumpun johto, en edes sitä löydä. Entä onko sille sulaketta? Kellään antaa sähkökaavion?
Saab 9-5 2.3T, 2000, Automatic, E85 Stage 1 by jcarlson
Saab 9-5 2.3t, 2002, Manual, E85 Stage 1 by jcarlson
#5866
Saab 9-5 2.3t, 2002, Manual, E85 Stage 1 by jcarlson
#5866
-
tosiynnäri
- "Turbo"
- Viestit: 227
- Liittynyt: La Loka 16, 2010 23:25
Re: Pyyhkijän pissapojan moottori kuali KIIRE
"ZaappiFantin" 9000 CC -91 taisi ollakin vuosimallia 92, vaikka ehkä rekistöröity jo 1991, eli pesunestesäiliö pumppuineen taitaakin silloin löytyä "Maverickin" ylempänä selostamasta paikasta. Ei ihme ettei VM-91:den ohjeilla löytynyt.
-
tosiynnäri
- "Turbo"
- Viestit: 227
- Liittynyt: La Loka 16, 2010 23:25

